
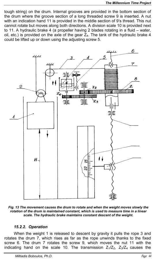
A weight having a mass G is lifted at a specified height H and then released to descent by gravity. It is suspended by means of a string (rope) to a drum over which the string is wound. This movement causes the drum to rotate and when the weight moves slowly the rotation of the drum is maintained constant, which is used to measure time by a linear scale. The hydraulic brake maintains constant descent of the weight].
15.2.1. ArrangementA weight 1 having mass G (kg) is suspended at the rope 3 by means of a pulley block roller 2 and a drum (cylinder) 7 around which the rope is wound. The rope is attached to the frame in one end and in the other – to the drum 7. A gear 8 is mounted to the drum and engaged with a gear transmission-reducer comprising
the gears Z1/Z2 (item 8). Z3/Z4=i. This transmission increases the speed of rotation of Z1. The drum 7 has an internal thread with a screw 6 in its upper section. The pitch of this thread is identical to the pitch of rope windings (thin and

hydraulic brake 4 to rotate (clutch, controller), which in this case controls rotation speed maintaining a constant level. Adjusting screw 5 is used to adjust to the correct time.
To repeat the procedure, the drum 7 is rewound and the weight 1 lifted back in its initial position.Describe what you're looking for in as much detail as you'd like.
Our AI reads your request and finds the best matching books for you.
Popular searches:
Join 2 million readers and get unlimited free ebooks