
Diffraction is an important characteristic of waves. It can be said to one of the defining characteristics of a wave. It occurs when part of a wavefront is obstructed. The parts of the wavefronts that propagate past the the obstacle interfere and create a diffraction pattern. Diffraction and interference are essentially the same physical process, resulting from the vector addition of fields from different sources. By convention interference refers to only a few sources and diffraction refers to many sources or a continuous source.

When a plane wave hits an aperture, Huygens principle says that each point in the aperture acts as a source of spherical wavelets. The maximum path length difference of all these sources is between the top and the bottom. Δ rmax = a sinθ The waves start out in phase. If a < < λ then the slit acts as a point source and you get a spherical wave coming out. If a > > λ then the aperture simply casts a bright spot the size of the aperture shadow. But if λ ≈ a then an interference pattern is set up.When the resulting pattern is viewed close to the aperture, the pattern can be very complex, and this is call Fresnel diffraction. As the the pattern is viewed from further and further away, it eventually stops changing shape and only grows in size. This is Fraunhoffer diffraction.

Consider the contribution to the field
at a P due to a small element of the slit
ⅆ
y
at
y
.
It is a distance
r
from P.
R
is the distance from the center of the slit to P.
lets define εL which is the source strength per unit length, which is a constant.
then
Now from the drawing
Now assume that
y
<
<
R
(which gives us the Franhaufer condition) and
now expand the square root
and neglect higher terms so that
r
=
R
−
y
sinθ
thus
where now we have used R in the denominator since it is much bigger than y
now integrate assuming that
θ
is a constant over the slit
now we define
and see that we can rewrite our expression as
or equivalently
The intensity will go like the square of this so
I = I0s i n c2β

Plot of
The Intensity has a maximum at
β
=
0
or
θ
=
0
.
there are minima when
sinβ
=
0
or
in the case of small
θ
we see that
is the distance between adjacent minima.
As a becomes large, we see that the minima will merge together. This is consistent with what we said at the beginning, that if a > > λ then you just get shadowing but not diffraction.
Finding the secondary maxima is more difficult. (Take the derivative of I and then look for zeros.) This can not be done analytically.
Note that wee have been considering only one dimension. If the length of the slit is L then we have only considered the case that L > > λ and so diffraction occurs only in the other dimension.
Now we consider the case of two slit diffraction.

Notice
that the x axis has been drawn through the lower slit. Then the field at the
distant point is just the sum of the field from the two slits. Thus we can use
our solution to single slit diffraction for each slit and add them
together
Now we we will define
R
=
R1
and use
R2
=
R
−
d
sinθ
Now we can ignore the
d
sinθ
in the denominator, as it will not have a significant effect on that. However
in the exponent, we can not ignore it, since it could significantly affect the
phase of the harmonic function. Lets define
α
=
(
k
d
sinθ
)
/
2
so now we can write:
and start rearranging:
This is very similar to the case of single slit diffraction except that you
now get a factor
2
cosα
included and a phase shift in the harmonic function.
So we can see immediately the intensity is I = 4 I0 cos2α s i n c2β recall α = ( k d sinθ ) / 2 and β = ( k a sinθ ) / 2 If d goes to 0 then expression just becomes the expression for single slit diffraction. If a goes to 0 then the expression just becomes that for Youngs double slit. The double slit diffraction is just the product of these two results. (Hey cool!)
Consider the case of N slit diffraction, We
have
.
.
.
So we can just follow the steps of the two slit case and extend them and get
(using
RN
=
R
−
(
N
−
1
)
d
sinθ
)
This is the same geometric series we dealt with before
so
Notice that this just ends up being multisource interference multiplied by single slit diffraction.
Squaring it we see
that:

Interference with diffraction for 6 slits with d = 4 a

Interference with diffraction for 6 slits with d = 4 a

Interference with diffraction for10 slits with d = 4 a

Interference with diffraction for10 slits with d = 4 a
Principal maxima occur when
or since
α
=
k
d
(
sinθ
)
/
2
k
d
sinθ
=
2
n
π
n
=
0
,
1
,
2
,
3
or
or
and just like in multisource interference minima occur at
A diffraction grating is a repetitive array of diffracting elements such as
slits or reflectors. Typically with N very large (100's). Notice how all but
the first maximum depend on
λ
.
So you can use a grating for spectroscopy.
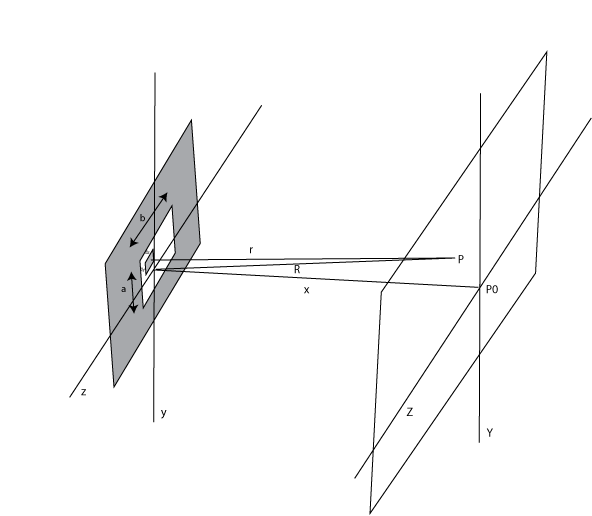
We consider diffraction from apertures other than a slit. For example consider
a rectangular aperture as shown below. If
is the source strength per unit area (assumed to be constant over the entire
area in this example) and
dS
=
ⅆ
y
ⅆ
z
is an infinitesmal area at a point in the aperture then we have:

We see from the figure that
and that
R2
=
x2
+
Y2
+
Z2
.
Thus we use
x2
=
R2
−
Y2
−
Z2
to write
or
We are only considering Fraunhofer diffraction so
R
,
Z
,
Y
are much larger than
y
and
z
and we can rewrite
and then finally expanding using the binomial theorem and taking only the most
significant terms
Describe what you're looking for in as much detail as you'd like.
Our AI reads your request and finds the best matching books for you.
Popular searches:
Join 2 million readers and get unlimited free ebooks