Discrete Time Systems by Mario A. Jordan and Jorge L. Bustamante - HTML preview

PLEASE NOTE: This is an HTML preview only and some elements such as links or page numbers may be incorrect.
Download the book in PDF, ePub, Kindle for a complete version.

Fuzzy Logic Based Interactive Multiple Model Fault Diagnosis for PEM Fuel Cell Systems

439

⎡ 6

. 30908 0

− 10 9544

.

0

8

3 . 74458 0

0

24

05866

.

⎢0 − 161 . 083 0

0

51

. 52923 0

− 18 0261

.

0

⎢ 18

. 7858

0

− 46 3136

.

0

275

6592

.

0

0

158

. 3741⎥

⎢0 0

0

− 17 3506

.

193

. 9373 0

0

0

=

c

A

1 299576

.

0

2

. 969317 0

. 3977 − 38 7024

.

0

. 105748 0

0

⎢16 64244

.

0

3

8 . 02522 5

. 066579 − 479 . 384 0

0

0

⎢0 − 450 . 386 0 0

142

. 2084 0

80 . 9472 0

⎢2 . 02257 0

4 621237

.

0

0

0

0

51 2108

.

⎥⎦

⎡0 0

0

5

.066579 − 116.446 0

0

0

C = ⎢0 0

0

0

1

0

0

c

0

⎢12.96989 10.32532

0.56926 0

0

0

0

0

⎥⎦

0

0

0

0

0

3

.94668 0

0

0

0 T

=

=

uc

B

, D

0

0

0 . 03159 0 . 00398 0

0

0

0

0.05242 0

uc

0

0.29656⎥⎦

Table 2. Parameters for the linear fuel cell model in (40)-(41)

=

=

1

A

u

B 1

⎡0.1779 0

− 0.0333 0.0047

− 0.1284 0.0245

0

− 0.02 ⎤

⎡0.0451 − 0 0145

.

⎢0.0012 0 0

.0004 0.0002

− 0.0169 0.0019

0

0

.002 ⎥

0.004 0

⎢ 0.0401

0

0

.0263 0.0038

− 0.3963 0.0415

0 0

.0663 ⎥

⎢0.0878 0.0034

⎢0.0444 0

0

.0177 0.0079

− 0.5741 0.0676

0

0

.0806 ⎥

0.3634

0.0028 ⎥

⎢0.0036 0

0

.0012 0

0006

.

− 0.0517 0

. 0057 0

0

.0059⎥

0.0123 0.0003

⎢0.0408 0

0

.01 0

.0053 − 3.9786 0.3265

0

0

.0543 ⎥

⎢0.1474 − 0.0032⎥

⎢ 0.0004 0 0.0003 0.0001 0.0031

0.0005 0

0.0011 ⎥

0.0007

0.0013

⎢0.0035 0

0

.0011 0.0006

0.0408 0.00

48 0

0

.0055 ⎥⎦

⎢ 0.0097

0.0003 ⎥⎦

C =

=

1

u

D 1

⎡0 0

0

5

.0666 − 116.446 0

0

0

0

0

0 0

0

0

1

0

0

0

0

0

⎢12.9699 10.3253

− 0.5693 0

0

0

0

0

0

0.2966⎥⎦

Table 3. Parameters for the discretized model

Actuator (or control surface) failures were modeled by multiplying the respective column of

u

B 1 and 1,

u

D

by a factor between zero and one, where zero corresponds to a total (or

complete) actuator failure or missing control surface and one to an unimpaired (normal)

actuator/control surface. Likewise for sensor failures, where the role of u

B 1 and u

D 1 is

index-452_1.png

index-452_2.png

440

Discrete Time Systems

replaced with C 1 . It was assumed that the damage does not affect the fuel cell system

dynamic matrix 1

A , implying that the dynamics of the system are not changed.

Let sampling period T = 1 s. Discretization of (40)-(41) yields the matrices for normal mode

T

τ

T

τ

c

A T

=

c

A

=

τ

c

A

=

τ

=

=

=

1

A

e

, u

B 1 ( e d ) B

, Bω

( e d ) B

, C

C , D , D , Dυ , D , which

0

c

1

0

ω c

1

c

u 1

u 1

1

υ1

are specified in Table 3.

The fault modes in this work are more general and complex than those considered before,

including total single sensor or actuator failures, partial single sensor or actuator failures,

total and partial single sensor and/or actuator failures, and simultaneous sensor and

actuator failures.

5. Results and discussion

Scenario 1: Single total/partial actuator faulty mode

First, in order to compare the performance between the conventional IMM and the proposed

fuzzy logic based IMM approach, consider the simplest situation in which only a single total

(or partial) sensor or actuator is running failure. Specifically, only partial failure for the

actuator according to the second control input, i.e. stack current, Ist, is considered. The

failure occurs after the 50th sampling period with failure amplitude of 50%. Two models

consisting the normal mode and second actuator failure with amplitude of 50% are used for

the IMM filter. The fault decision criterion in (29) is used with the threshold '

μ = 2.5

T

. The

transition matrix for the conventional IMM and the initial for the proposed approach are set

as follows

⎡0.99 0.01

Π = ⎢

0.1

0

.9 ⎥

The results of the FDD based on our proposed approach are compared with that of the

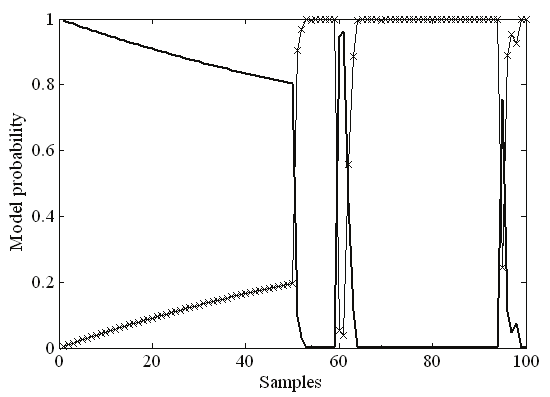
conventional IMM filter. Fig. 6 (a) and (b) represent the model probabilities of the 2 models

and the mode index according to (29) for the conventional IMM, respectively. From Fig. 6, it

is obvious that the model probability related to the failure model does not keep a dominant

value for the conventional IMM approach. On that account, momentary false failure mode is

declared after the failure although the approach works well before the first failure occurs,

Fig. 6. The model probabilities and the mode index for the conventional IMM approach

index-453_1.png

index-453_2.png

Fuzzy Logic Based Interactive Multiple Model Fault Diagnosis for PEM Fuel Cell Systems

441

just as shown in Fig. 6 (b). The performance of the proposed fuzzy logic based IMM

approach is stable to hold a higher model probability than that of the conventional filter (cf.

Fig. 7 (a)-(b)). This concludes that the improved IMM approach has better performance and,

more importantly, reliability that the conventional IMM filter.

Fig. 7. The model probabilities and the mode index for the proposed fuzzy logic based IMM

approach

Scenario 2: Single total/partial sensor/actuator faulty mode sequence

Consider the situation in which only a single total (or partial) sensor or actuator failure is

possible. Then there are a total of 4 possible model (one normal plus 3 failure models) for

sensor failure and 3 possible models (one normal plus 2 failure models) for actuator failures.

Similarly, there are 4 partial sensor failure models and 3 partial actuator failures models.

Due to the space limitation, only the simulation results for the sensor failure case are

presented herein. Let the pairs ( z 1, un), ( z 2, us 1), ( z 3, us 2), ( z 4, us 3) designate the measurements and corresponding causes associated with the normal/fault-free mode, and sensor fault for

the first to the third sensor, respectively. Furthermore, let the pair ( z 5, us 3 p) denote the

measurement and corresponding causes associated with the partial fault for the third sensor.

Consider the sequence of events designated by z=[ z 1, z 2, z 1, z 3, z 1, z 4, z 1, z 5, z 1] and u=[ un, us 1, un, us 2, un, us 3, un, us 3 p, un], where the first, second, third total sensor failures, and the partial third sensor failure occur at the beginning of the time horizon windows [31, 50], [81, 110],

[141, 180], and [211, 250], respectively. Note that z 1 corresponds to the normal mode. The

faults persist for the duration of 20, 30, 40, and 40 samples, respectively.

Let the initial model probability for both the conventional IMM and the fuzzy logic based

IMM approach μ(0) = [0.2, 0.2, 0.2, 0.2, 0.2] T. The transition matrix for the conventional

IMM and the initial one for the proposed approach are set as

⎡0.96 0.01

0.01

0.01

0.01

⎢ 0 .1 0 .9 0

0

0

Π = ⎢ 0.1

0

0.9

0

0

⎢ 0

.1 0

0

0

.9 0

⎢ 0 .1 0 0 0 0 .9 ⎥

The mode indexes as a function of sampling period for the conventional IMM and the fuzzy

logic based IMM approach are compared in Fig. 8.

index-454_1.png

index-454_2.png

442

Discrete Time Systems

Fig. 8. The mode index in the 2nd scenario for (a) the conventional IMM; and (b) the fuzzy

logic based IMM

Find Your Next Great Read

Describe what you're looking for in as much detail as you'd like.
Our AI reads your request and finds the best matching books for you.

Showing results for ""

Popular searches:

Romance Mystery & Thriller Self-Help Sci-Fi Business